Toyota quer abandonar padrão “skate” para mudar design dos carros elétricos
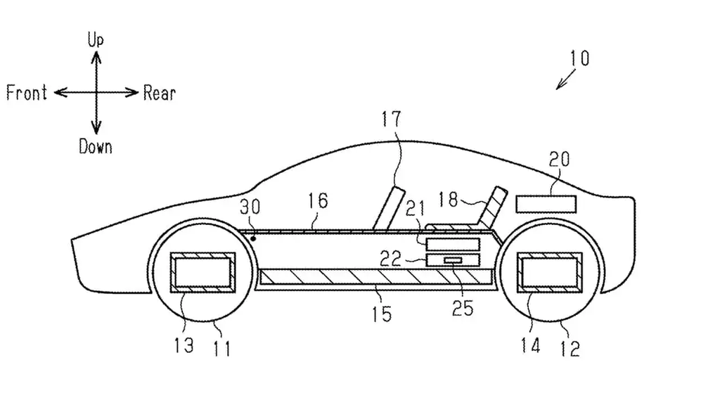
A Toyota registrou patentes que revelam uma nova arquitetura para os futuros carros elétricos e sinalizam a busca por um jeito de aproveitar melhor o espaço interno dos veículos, mas sem abrir mão da eficiência e segurança. Os documentos mostram que a montadora japonesa aposta na descentralização de componentes como os motores e unidades de potência, escapando do design tradicional de “skate” visto na indústria.
- Elétricos mais vendidos: BYD abre janeiro de 2026 na frente
- Energia, pneus, seguro: quanto custa por ano manter um carro elétrico?
A iniciativa vem em resposta aos desafios encontrados nos modelos atuais, que trazem a bateria instalada sob o assoalho do carro. É aqui que entra a proposta da Toyota: a marca planeja fragmentar o sistema de propulsão, ou seja, distribuir seus componentes ao longo do carro.
Na prática, a ideia é que o motor elétrico e a unidade de controle de potência formem módulos independentes e flexíveis o suficiente para serem instalados à frente ou atrás da bateria. Desta forma, seria possível acomodar os componentes em menor espessura, o que dá mais liberdade para o projeto do interior do carro.
–
Entre no Canal do WhatsApp do Canaltech e fique por dentro das últimas notícias sobre tecnologia, lançamentos, dicas e tutoriais incríveis.
–
Carro elétrico da Toyota
Esta iniciativa é uma resposta aos desafios de design impostos pelo grande volume que as baterias ocupam atualmente. Ao fragmentar o sistema de propulsão em módulos independentes, a Toyota altera também a distribuição de massa — o que é extremamente importante nos carros elétricos, já que o peso tem influência direta na estabilidade e desempenho do carro.

Claro, mais espaço livre se traduz em mais conforto para os passageiros, mas as vantagens não param por aí. Na verdade, a solução permite ainda ajustar melhor o porta-malas, adaptar a base do veículo para tipos de carroceria mais diversos e, finalmente, melhorar a gestão térmica e o isolamento de elementos críticos do carro.
Vale lembrar que, embora a Toyota seja experiente em sistemas elétricos com motores múltiplos, as patentes não indicam necessariamente garantia de aplicação direta nos modelos que vão ser produzidos. Mesmo assim, os documentos indicam quais são as prioridades de desenvolvimento da marca atualmente.
Leia também:
- Segundo carro elétrico da Xiaomi tem “cara” de Ferrari e potência insana
- Volvo critica rivais e diz que não “paga para vender” carros elétricos
Leia a matéria no Canaltech.
O que achou dessa notícia? Deixe um comentário abaixo e/ou compartilhe em suas redes sociais. Assim conseguiremos informar mais pessoas sobre as curiosidades do mundo!
Esta notícia foi originalmente publicada em:
Fonte original

